定了!新西兰“燃油补助”公布!“每周50纽币,发给中低收入在职家庭!”
作者: 天维采编组 日期:2026-03-24 12:38 阅读:0 来源:天维网报道
【天维网综合报道】今日,新西兰财政部长Nicola Willis官宣“燃油补助”!
Willis表示,随着中东冲突推高油价、加重家庭生活成本压力,新西兰政府正迅速推出额外支持措施,帮助中低收入在职家庭。
自4月7日起,约14.3万个有子女的在职家庭将通过提高“在职税收抵免”(In-Work Tax Credit),每周额外获得50纽币。
同时,约1.4万个新增家庭也将被纳入补助范围,并按递减比例领取该补贴。
此次上调为临时措施,将持续一年,或直至91号汽油价格连续四周低于每升3纽币为止。
Nicola Willis
什么是在职税收抵免(IWTC)?
在职税收抵免(In-Work Tax Credit,IWTC)是发放给有受抚养子女的家庭的一项补助,前提是至少有一名家长处于有偿就业状态,且双方均未领取Work and Income的主要福利。
领取者可以是领取工资或薪水的雇员,也可以是自雇人士。
目前,税务局(Inland Revenue)向约14.3万个家庭发放该补助。
当前补助标准为每周97.50纽币,可按周、双周或年度一次性发放。此外,拥有四个及以上子女的家庭,每多一个孩子每周可额外获得15纽币。
IWTC主要面向中低收入家庭。在2025/26税务年度中,领取该补助的家庭年收入上限大致为:
- 一个孩子家庭:约89,000纽币
- 两个孩子家庭:约112,000纽币
- 三个孩子家庭:约135,000纽币
家庭收入指父母双方收入总和(如为双亲家庭),包括全职或兼职收入。
NZ政府今日宣布了什么?
今日,NZ政府将临时把IWTC的基础金额每周提高50纽币,使其达到每周147.50纽币,以帮助应对油价上涨带来的生活成本压力。
该上调将从2026年4月1日起实施,持续一年,或直到91号汽油价格连续四周低于每升3纽币(以先发生者为准)。
这一措施旨在重点支持选择有限的在职家庭,同时避免大规模、无差别的支出,因为后者成本高且可能推高通胀。
该政策反映出政府的判断:通过现有制度,可以更快速、更有效地提供支持。
通过IWTC发放补助,政府能够精准帮助承压的在职家庭,同时确保措施快速、高效且符合财政审慎原则。
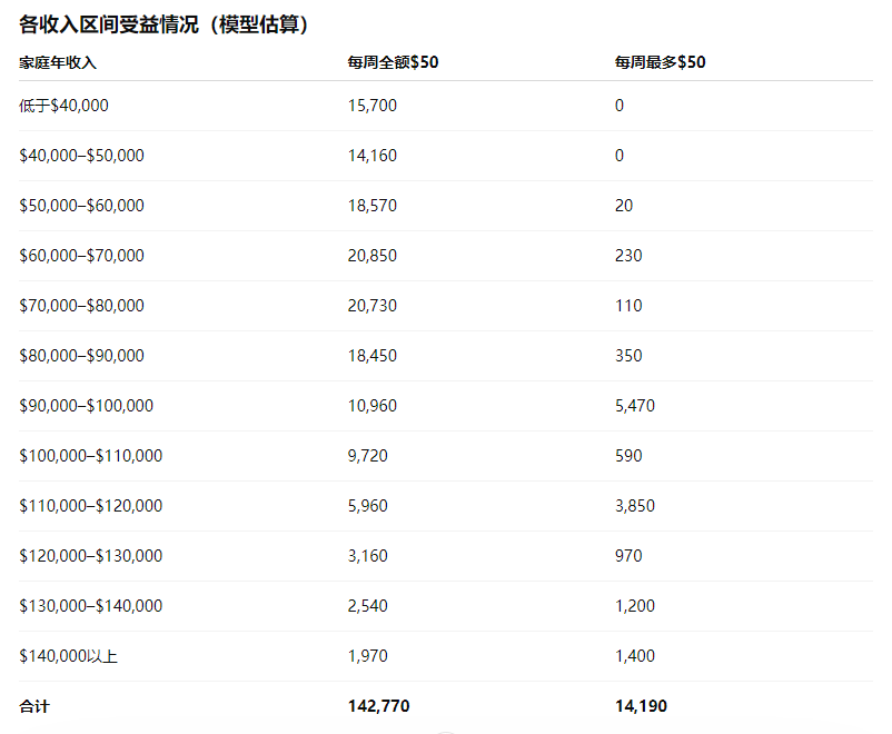
税务局估计,约14.3万个家庭将获得每周50纽币的全额补助。此外约1.4万个家庭将因收入门槛提高而新纳入范围,但由于补助随收入递减,这些家庭每周获得金额将低于50纽币。

举例说明——一个年收入10万纽币的家庭,可能包括:
- 单亲家庭,年收入10万纽币
- 一方收入10万纽币,另一方无收入
- 一方收入7万纽币,另一方兼职收入3万纽币
是否符合IWTC资格,还取决于家庭子女数量。
Willis表示:“这一临时性上调将为承受显著生活成本压力的在职家庭提供支持,同时不会加剧通胀或进一步推高政府债务。”
“该政策精准针对‘被挤压的中间群体’——那些努力工作、不符合主要福利资格、但收入有限、仍需抚养子女的家庭。我们清楚,这些家庭将特别受到全球油价冲击的影响,因此我们为他们提供及时的缓解措施。”
“政府将迅速推进相关调整。明天我们将向新西兰国会提交一份税收法案修正文件,以便这些变更能够从4月1日起生效。”
“多数符合条件的家庭无需采取任何行动,补助将直接打入其银行账户。按周发放的家庭将从4月7日起收到款项,按两周发放的家庭则从4月14日起开始领取。”
Willis表示,政府清楚几乎所有新西兰企业和家庭都在承受全球冲击带来的价格压力,但同时也认识到,大规模、无差别的政府支出可能适得其反,进一步推高通胀和债务。
“我们正在做出审慎选择,以保护新西兰的经济未来。”
她指出,若应对不当,可能带来长期且痛苦的后果。
“我们在新冠疫情之后已经见过这种情况——过度支出导致债务翻倍,通胀飙升,房贷利率大幅上涨,而新西兰人至今仍在承受这些影响。”
“因此,我们专注于提供临时、及时且有针对性的支持,优先帮助最需要的在职人群,同时继续谨慎管理公共财政。”
该政策预计若执行满一年,将一次性花费约3.73亿纽币;若提前结束,成本将更低。由于该措施为限时政策,未来年度不会产生持续性支出。
相关支出将计入政府2026年财算案(Budget)的运营额度中,已纳入财政部的财政预测。
“以这种方式提供资金支持,不会增加政府债务或通胀压力,符合政府在实现收支平衡、降低债务水平方面的财政战略。”
“我们无法控制全球石油市场或国际冲突。”
“但我们可以通过负责任且精准的方式,缓解那些难以避免油价上涨影响的在职家庭所承受的压力。”
版权声明
1. 未经《新西兰天维网》书面许可,对于《新西兰天维网》拥有版权、编译和/或其他知识产权的任何内容,任何人不得复制、转载、摘编或在非《新西兰天维网》所属的服务器上做镜像或以其他任何方式进行使用,否则将追究法律责任。
2. 在《新西兰天维网》上转载的新闻,版权归新闻原信源所有,新闻内容并不代表本网立场。
版权声明
1.
未经《新西兰天维网》书面许可,对于《新西兰天维网》拥有版权、编译和/或其他知识产权的任何内容,任何人不得复制、转载、摘编或在非《新西兰天维网》所属的服务器上做镜像或以其他任何方式进行使用,否则将追究法律责任。
2. 在《新西兰天维网》上转载的新闻,版权归新闻原信源所有,新闻内容并不代表本网立场。
相关推荐
-
中奖机会大增!新西兰乐透宣布Powerball重大改革
-
【恶劣天气前瞻】奥克兰面临超30小时强降雨 伴有洪涝风险
-
新西兰警方逮捕一名涉宗教组织男子 指控多项性犯罪
-
六问新西兰“临时燃油补贴”:谁能领?领多少?何时到账?
-
突发!新西兰34岁女部长宣布退出政坛
-
五项健康指标全面飘红!新西兰政府公布医疗系统成绩单
-
个人应对能源危机:如何让出行效率最大化?
-
油价飙升再现历史阴影 专家呼吁避免重蹈覆辙
-
危险!新西兰深夜“非法飙车”乱象曝光!19岁男子烧胎、酒驾被捕,车辆当场扣押!
-
息息相关!新西兰“燃油补贴”将于今日公布!重点针对这些人群!
· 请您文明上网、理性发言
· 尊重网上道德,承担一切因您的行为而直接或间接引起的法律责任
· 您的留言只代表个人意见,不代表本站立场
· 天维网拥有管理笔名和留言的一切权利
· 您在天维网留言板发表的言论,天维网有权在网站内转载或引用
· 天维网新闻留言板管理人员有权保留或删除其管辖留言中的任意内容
· 参与本留言即表明您已经阅读并接受上述条款
查看所有评论 共( 条)







